https://beagod.tistory.com/864
소방설비기사 전기 실기 이것을 아시는가 메인
20일간 이곳에 글을 쓰면 응모되는 이벤트가 있어서 여기 참가하려고 함딱 이번에 본 소방실기가 좋을 것 같아 정리 노트를 올립니다. 20개가 되려나? 2024년도 시험 기준이고 2023년도 기출부터
beagod.tistory.com
음. 오늘은 자동탐지기와 감지기 회로에 관해서
정말 간략하게 말하면 4+2이고 내 식대로 말하자면 벨, 등, C, A + 회로선, C 이다.
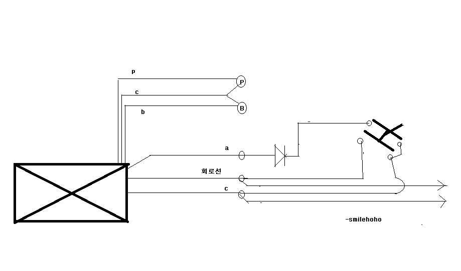
발신기 회로도

기준 6개 (4+2)를 깔고 계산이 들어가는데
4 = P B C A
2 = 회로 + 공통
에서 이제 조건에 따라 추가 가산이 들어간다.
4의 경우 B인 경종등에서 경종은 층마다 각 층이 단선이 되어서 그 층이 먹통이 되어도 다른 층의 경보에는 영향이 없도록 하라는 법규에 따라 층마다 혹은 건물마다, 경계구역마다(경계구역은 아예 New 세트이므로 당연하지만) 벨 회선이 추가로 가산된다.
또한 4의 C인 벨 및 등 공통선에서 벨의 공통선은 회선 개수당 혹시 늘어나지 않는가 궁금할 수 있는데 이는 지문에 특별히 뭐 어떻게 하라 지시하지 않는 이상 그냥 PBCA 전부 1개라고 생각해서 기본 4개 베이스로 깔고 들어가면 된다.

그리고 발신기 간선도에서 이미 알고 있겠지만 위 PBL 단독형이 나와서 감지기가 있으면 그것들 하나마다 회로선이 하나 추가된다. 이때 발신기세트에 대부분 종단저항의 개수가 옴 기호로 표시되는데 만일 교차회로가 아닌데 이상하게 발신기세트에 종단저항이 2개 이상 그려져 있다면 표기된 그대로 생각하라. 여기선 예로 2개라고 한다면 그냥 아무 생각하지말고 회로선 2개라고 보면 된다.
이렇게 발신기세트간 회로선과 공통선의 개수에서 회로선은 커버가 되었고 이제 공통선의 개수를 말해보자면
공통선은 문제에 따로 x개의 회선당 추가하라는 지문이 나와있지 않으면 기본으로 7회선당 1개씩을 깔고 간다. 법규쪽은 모르겠지만 따로 지문 자체가 없으면 Default 7개당 복귀선 1개라고 알면 된다. 계산법은 그냥 아무 생각하지 말고 회선 개수를 7로 나눠서 무조건 올림처리하면 된다.
이는 수신기에서의 공통선시험과 일치하는데 공통선 시험이 공통선에 회로 몇개 묶여있나 체크하는 시험이다.
이제 골치아픈게 하나 있는데 계단실 감지기를 경계구역을 하나 따로 빼서 계산하라고 시키는 경우이다.
ELV와 계단실은 따로 회선을 뺄 텐데 이때 공통선은 그냥 일반 공통선으로 묶어서 사용하고 대신에 2종 연기감지기의 거리인 15m마다 수직거리로 박아넣으니 보통 꼭대기층과 중간 1개층에 해서 계단실 감지기가 2개가 튀어 나올텐데, 이때 중간층 감지기를 통해 올라가는 회로가 전 층에 추가로 하나씩 가산되고 이때 맨 위층 계단실 감지기 부분에서는 회로선의 개수를 계단실 감지기를 포함해서 계산하고 또 밑에서 해오던대로 추가 하나 가산하면 오답이니 가산을 빼고 세던가 아니면 감지기를 무시하고 가산을 하던가 해서 계산을 잘 해야 할 것이다.
그리고 이 맨 위층 감지기에서 기존 감지기가 동시에 존재할 경우 공통선 연결을 병렬식 비슷하게 빼는것도 생각해 볼 만하다.
경계구역에 대해 말을 해 보자면
2개의 층의 경계면적이 합 500 제곱미터 이하라면 이를 1개의 경계구역으로 묶을 수 있다.
그리고 지하층에 대해서는 원래 지하층은 무조건 1개의 경계구역이되, 건물에 지하 1개층만 있다면 이를 지상층의 경계구역으로 묶어 분할하지 않을 수 있다고 생각하면 된다.
감지기의 수직 경계구역은 (45m)이다.
그리고 각 ELV실과 각 계단실은 하나의 경계구역으로 설정한다.
ELV는 이에 대해 포스팅해놓은게 있지만 여기서 결론만 간단하게 말하자면 그냥 맨 꼭대기 권상기실에만 한개 설치하면 된다.
계단실은 2종 연기감지기의 수직거리인 15m에 맞춰서 그 이내 거리가 되도록 설치한다.
마지막으로 종단저항에 대해서 말해보자면
감지기 회로에서의 종단저항은 그 위치가 발신기 내부 또는 종단저항감지기를 사용하는 경우 2 가지가 있는데
발신기 내부 설치형이라면 수신기에서 회로가 나와 발신기를 찍지 않고 그냥 감지기 전부 돈 다음 발신기로 들어가서 마무리하는 경우가 있고, 수신기에서 발신기부터 거쳐서 그 다음 감지기를 한 바퀴 다 돌고 다시 발신기로 복귀해 1 회로를 구성하는 경우가 있는데 수신기 발신기 사이 회선도 그리라는 경우가 아닌 한 후자로 생각하면 된다.
그리고 종단감지기를 사용하는 경우 회로가 그 종단감지기에서 끝나기 때문에 무조건 발신기를 먼저 찍고 그 다음 감지기를 순회한 다음 그 종단감지기에서 회로가 끝난다. 이는 발신기를 그저 하나의 감지기로 보면 된다.